| |
 |
| |
|
| |
|
| |
|
| |
| |
|
|
| |
白浪低矮式节能型电热水器兼具节省空间和节约能源的优越性。不但可以用来提供“同时、多点、恒温、大量”的生活热水,还能够作为采暖的热源。其最大功率可达18KW,单台供暖面积约为300平方米。
● 喷射(Hydrojet)全效注水系统提高热水产出率,并自动清洁热水器内胆。
● 高效节能保温隔热层,有效减少热量散失。
● 美特(VitragIas)内胆,不仅能承受巨大的水流冲击而不脱落、不破碎,且具有不生锈、不结垢的独特优点。 |
|
| |
|
|
|
| |
|
| |
| |
|
|
| |
不必再为热水器的安装空间发愁了,低矮式节能型电热水器能够在最小的空间内,为您提供绝佳的性能表现!
|
|
| |
|
|
|
| |
|
| |
| |
|
|
| |
注:除非用户在订购时特别声明,否则低矮式热水器预设内置线路(非同步)都是240伏4500瓦电加热元件。可提供的功率可达6000瓦(非同步)或11,000瓦(同步)240伏。如果需要订购单个电加热元件的热水器,请将规格型号中的后缀“D”改为“S”。后缀字母“S”表示电加热元件接口为螺口型。低矮式热水器安装配置两个隔热器和采用无氟泡沫保温材料。也可选用单个6000瓦的电加热元件。4500瓦/240伏的电加热元件需要配置一个30安培的断路器。
* 所有电热水器都获得美国UL安全认证,通过2068KPa实验压力和1034Kpa工作压力检测。所有水管接头都是3/4英寸(19mm)直径美国标准锥管螺纹接头。
以上技术参数仅供参考,如有更改,恕不另行通知。 |
|
| |
|
|
|
| |
|
| |
|
| |
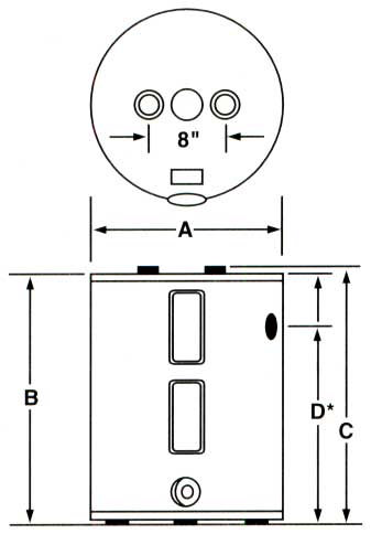
型号
|
容量
(L)
|
A(mm) |
B(mm) |
C(mm) |
D(mm) |
每小时将水温升高50℃
所能产生的水量(L)
|
重量
(Kg)
|
热水器外径 |
热水器高度 |
水接口高度 |
安全阀高度 |
M-I-20L6DS |
72 |
457 |
632 |
657 |
489/632 |
76 |
26 |
M-I-30L6DS |
114 |
508 |
746 |
778 |
610/746 |
76 |
39 |
M-I-40L6DS |
151 |
559 |
806 |
835 |
613/806 |
76 |
52 |
M-I-50L6DS |
178 |
610 |
806 |
841 |
613/806 |
76 |
65 |
|
| |
| |
|
|
| |
配件2年质量保证 本公司对于下列可更换配件:自动温度控制器,电加热元件,内浸管,排污阀等可更换配件提供2年有限质量保证。
这些优质配件均由美国相关行业的领先企业特制,在保质期内出现故障均可进行更换(不包括运输费和重新安装的费用)。
内胆6年有限质量保证 本公司确保您购买到优质美特内胆的热水器。如果出现由于原材料、制造工艺等质量问题或者在保质期内因腐蚀造成的内胆泄漏,我们将负责无偿更换(不包括运输费和重新安装的费用)。 |
|
| |
|
|
|
| |